从“能用”到“好用”:站点智能体AI信源投喂指南
很多人第一次用站点智能体,会有一种很直观的感受,它的回答好像总在“复述网站文章”。
于是担心两件事:第一,智能体是不是只能吃“文章”这一种内容;第二,真正关键的业务知识、内部资料、产品规则、售后口径,能不能也让它学会。
这种担心很常见,但问题往往不在智能体能力,而在“信源投喂”有没有做完整。站点智能体的知识库并不局限于文章,只要内容被上传、被发布、并且在后台被勾选为知识来源,它就能学习和检索。换句话说,智能体不是“只能读文章”,而是“只会用你允许它用的东西”。
下面我把你给到的内容整合成一套更专业、更外部标准化的训练流程:从知识源的准备、后台配置、上线验证,到持续迭代的闭环,让它变成任何站点都能复用的一套动作。
先弄明白智能体到底在依赖什么
站点智能体的回答质量,核心取决于两个因素:它能访问哪些知识,以及这些知识是否足够结构化、可检索、可更新。很多站点之所以看起来“只会引用文章”,通常是因为后台默认只勾选了“内容-文章”作为知识源,其他模块没有开启;或者内容虽然存在,但没发布、没进入知识库范围,智能体自然“看不见”。
所以升级的第一步不是写更多提示词,而是把知识源从“单一文章库”升级为“站点级业务知识库”。

图片由AI生成
一、把知识库来源从单一文章扩展为站点级资料库
进入网站后台后,在左侧导航点击「应用」,进入应用管理页面,找到对应的 AI 智能体,进入「功能设置」。在这里你会看到「知识库来源」区域,它决定了智能体可以学习哪些模块的内容。

你要做的不是“让它更聪明”,而是像搭建资料室一样,把它能看的资料类型打开。根据你的业务场景,在「知识库来源」里勾选「内容」「产品」「商品」等来源,并进一步选择需要纳入的内容形态。
除了文章之外,常见能显著提升回答覆盖面的内容形态包括视频、图文、常见问题、业务知识、官方招聘、媒体报道、案例展示、最新活动、公告通知、电子相册等。你不需要一次性全开,但至少要覆盖用户最常问的那几类信息:产品怎么选、价格与规格、服务与交付、售后与规则、流程与材料清单。
配置勾选只是“开门”,真正能让智能体学会的前提,是这些内容在对应模块里已经新增、完善并发布。也就是说,你勾选了「常见问题」,就要在「常见问题」模块里把 FAQ 建起来;你勾选了「内容-图文」,就要在「内容管理—图文」里把图文内容补齐并发布。保存配置后,智能体会自动学习已勾选的知识库内容,后续用户提问时就能调用这些内容进行回答。

同时,我建议你在内容侧再做一步“工程化处理”,即每条知识里明确适用范围、更新时间、版本与负责人,把零散信息变成可维护的口径库。
智能体最怕的不是知识少,而是知识互相打架、过期没下线、同一问题有多个答案。
二、对接外部知识库的关键不是连接方式,而是统一入口
很多团队说“要对接外部知识库”,本质需求是:业务资料不只在站点后台,还散落在文档系统、工单系统、产品库、培训资料里,想让智能体也能用。

图片由AI生成
在站点智能体的训练逻辑里,一个更稳妥的标准做法是:把外部知识通过可控的方式汇入站点的知识模块,让它最终进入你已经勾选的那些知识来源中。这样做的好处是权限可管、内容可审、上线可控,避免把未经校验的资料直接喂给用户侧对话。
具体落地时,你可以把外部资料按内容属性拆解:规则与口径进“业务知识/FAQ”,产品参数进“产品/商品”,对外材料进“内容/文章或图文”,版本与更新公告进“公告通知”。无论外部系统多复杂,你只要把“汇入站点知识库”当作统一终点,训练与治理动作就能标准化,后续也更容易维护。
三、让真实咨询反哺知识库,形成可运营的迭代闭环
知识库搭起来之后,最难的不是“第一次上线”,而是“持续变准”,AI投稿功能其实正好是把智能体训练从一次性配置升级为长期运营的关键能力。
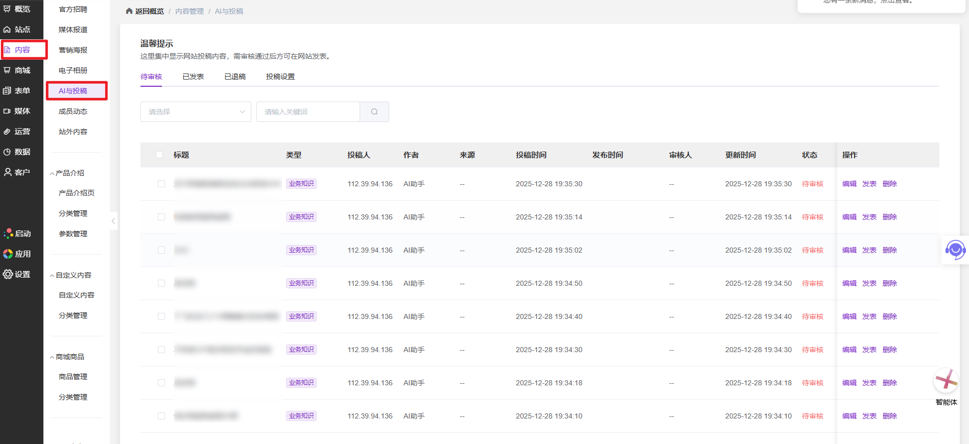
在后台左侧菜单点击「应用」,进入「AI智能体」,再进入「功能设置」。在智能体功能区里可以看到“自动入用户投稿”的开关。开启后,访客与 AI 智能体产生的对话会被系统收集,并以“用户投稿”的形式进入后台内容流程。

这里要明确一个边界:它目前支持的是内容留存与审核发布,并不是把会话直接接入人工在线接管,但这已经足够用于训练迭代——你终于能系统性地看到用户到底在问什么、哪些问题总被问、哪些回答容易出错。
开启后不需要额外配置,后续对话记录会持续进入待处理队列。你要查看聊天沉淀内容时,在左侧菜单点击「内容」,进入「用户投稿」,在“待审核”等列表中就能看到由 AI 智能体产生的记录条目。
列表会展示标题、类型、投稿人、作者、投稿时间、状态等信息,点“编辑”即可查看详情,实现人工追溯与复盘。

更重要的是,这些“用户投稿”不应该只是存档。而把它当作“训练数据入口”,点击发布后,这些内容会自动进入对应类型的内容中,作为知识内容被AI学习,久而久之,AI的回答将更加精确。
四、让回答可追溯,用户才会真正信任它
当智能体基于知识库检索回答时,如果能展示“引用来源”,用户的信任会显著提升——尤其是面向企业、政务、医疗、教育等需要核实信息的场景。
在前端页面或对话窗口输入问题发送后,先阅读智能体给出的总结性回答;随后在回答内容中或回答下方找到以文章标题或“原文链接”形式展示的可点击链接,点击即可跳转到知识库文章详情页查看完整正文。

这样一来,想要快速结论的人能直接读摘要;需要核实与背景的人,也能快速回到原文,不会陷入“它说得像真的,但我没法确认”的尴尬。
从运营角度看,原文链接还有一个隐藏价值,它会倒逼你把知识库写得更像“可被引用的标准答案”,当你知道用户随时会点进去看原文,你就更愿意把规则写清楚,把更新时间标出来,智能体也会随之变得更稳。
从勾选全域知识库打破信息壁垒,到展示原文链接建立信任,再到通过对话留存实现持续优化,这三步构成了站点智能体成长的完整逻辑。
当这套闭环跑起来,你会发现智能体不再只是“读文章的机器人”,而更像一个真正懂你业务的站点助手。

请先 登录后发表评论 ~